Трубы железобетонные раструбные с подошвой ТСП 160.35-1 со ступенчатой стыковой поверхностью уплотняемые резиновыми кольцами – это полые цилиндрические конструкции высокой прочности, которые служат для транспортировки воды, газа и других сред, а также для устройства электрических кабелей. В задачу труб входит защита содержимого от механических повреждений и воздействия окружающей среды.
Трубы – одни из самых популярных строительных изделий, универсальность конструкции позволяет использовать данный вид изделий во многих сферах строительства. Жилищное и инженерное строительство использует эти трубы для прокладки канализации (безнапорной или напорной), служащей для транспортировки сточных вод, бытовых отходов, атмосферных осадков и других производственных жидкостей. В активно строящихся городах известно также применение труб в качестве коллекторных тоннелей – сооружений, которые вмещают в себя большое количество коммуникаций различного назначения. При этом тоннели возводятся как традиционным, так и специальным методом, который называется микротоннелирование. Микротоннель — это непроходной тоннель, не доступный для прохода людей и техники в процессе эксплуатации трубопровода. В энергетическом строительстве железобетонные трубы используются для прокладки подземных и наземных электрических кабелей. Трубы широко применяются и в нефтегазовой отрасли, они служат для перегонки нефти и газа.
Железобетон, как материал, из которого изготавливаются трубы раструбные с подошвой ТСП 160.35-1 со ступенчатой стыковой поверхностью уплотняемые резиновыми кольцами, имеет ряд преимуществ по сравнению с другими строительными материалами. Высокая прочность железобетонных изделий позволяет им выдерживать значительные нагрузки на протяжении всего срока эксплуатации, при этом с годами конструкции не теряют своих первоначальных свойств. Высокие показатели по водонепроницаемости и стойкости к химическим соединениям позволяют подвергать железобетонные изделия постоянной эксплуатации в воде и в местах с повышенным уровнем влажности, а также при транспортировке различных активных химических веществ.
Немаловажным преимуществом является также низкая стоимость бетонного сырья, которая позволяет существенно сэкономить в строительстве объекта. Таким образом, применение недорогих, но выносливых в любой среде железобетонных труб в большинстве видов строительства полностью себя оправдывает: высокопрочные трубы ЖБИ позволяют защитить содержимое от внешних воздействий, при этом предотвращая размывание грунта под сооружениями, зданиями, мостами, автомагистралями, железными дорогами и прочими объектами. Использование железобетонных труб значительно увеличивает эксплуатационный срок любых сооружений, поэтому они пользуются огромным спросом во многих сферах строительства.
Железобетонная труба представляет собой полый цилиндр. Соединение труб друг с другом происходит гибким или жестким способом. Герметичность гибкого соединения осуществляется с помощью резиновых колец, а жесткого – с помощью цементной смеси.
Трубы железобетонные раструбные с подошвой ТСП 160.35-1 со ступенчатой стыковой поверхностью уплотняемые резиновыми кольцами изготавливаются из тяжелого или мелкозернистого бетона в зависимости от нагрузок, которые они будут испытывать в процессе эксплуатации. Класс бетона по прочности на сжатие принимается от В30 и выше. Класс бетона изделий по морозостойкости назначается в зависимости от средней температуры воздуха наиболее холодного месяца в районе строительства. Класс бетона по водонепроницаемости назначается не ниже W6 – для труб, изготавливаемых методом вибропрессования, и не ниже W4 – для труб, изготавливаемых по другим технологиям. Водопоглощение бетона труб в любых условиях не должно превышать 6% по массе.
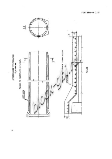
Железобетонные трубы раструбные с подошвой ТСП 160.35-1 со ступенчатой стыковой поверхностью уплотняемые резиновыми кольцами армируются сварными спиральными каркасами. В зависимости от размера трубы и условий эксплуатации каркасы могут быть одинарными (цилиндрическими или эллиптическими) или двойными цилиндрическими. Для спиралей используется обыкновенная арматурная проволока классов В-I и Вр-I, а в качестве продольной распределительной арматуры применяются стальные стержни классов А-I и A-III. Для изготовления закладных изделий труб используются арматурные стали и прокат.
Высокая ответственность, которая ложится на трубы, требует выполнения всех требований, предъявляемых к качеству железобетонных изделий. На поверхностях труб не допускаются какие-либо трещины, за исключением усадочных, ширина которых при этом должна быть не более 0,05 мм. Не допускаются также раковины, диаметр или наибольший размер которых превышает 15 мм по наружной, внутренней или торцевой стороне трубы, 6 мм – в стыковой части трубы. Высота напл
ывов и глубина впадин должны быть не более 2-5 мм. Глубина околов бетона на торцах изделий должна быть не более 5 мм, а их суммарная длина на 1 м ребра не должна превышать 50 мм. Обнажение арматуры, следы ржавчины на поверхности изделий категорически не допускаются.
Железобетонные трубы раструбные с подошвой ТСП 160.35-1 со ступенчатой стыковой поверхностью уплотняемые резиновыми кольцами должны быть изготовлены в точности с размерами, указанными в чертежах, однако допускаются незначительные отклонения, которые не должны превышать: ± 4-6 мм – для внутреннего диаметра трубы; ± 3-8 мм – для наружного диаметра трубы; ± 4-6 мм – по толщине стенки трубы; -10, +20 мм – по длине трубы. Отклонения арматуры от номинального диаметра и длины каркаса, шага спиральной арматуры не должны превышать ±5 мм. Отклонения по числу шагов спиральной арматуры каркасов не должны превышать: ± 1-2 мм.
Трубы железобетонные хранятся и транспортируются в штабелях, рассортированные по маркам. Максимальное число рядов труб по высоте не должно превышать 3-4. Если полезная длина трубы менее 5 м, то такие трубы допускается хранить в вертикальном положении при обеспечении их устойчивости. Под нижний ряд труб в штабеле параллельно друг другу укладываются две подкладки на расстоянии 0,2 м длины трубы от ее торцов. Конструкция подкладок должна препятствовать раскатыванию нижнего ряда труб. Между рядами укладываются также параллельно друг другу прокладки, при этом их расположение должно по вертикали совпадать с расположением подкладок. При транспортировании трубы должны быть надежно закреплены для того, чтобы предотвратить их непроизвольное перемещение и падение.
В компании ГК «БЛОК» можно не только заказать трубы раструбные с подошвой ТСП 160.35-1 со ступенчатой стыковой поверхностью уплотняемые резиновыми кольцами, но и проконсультироваться с нашими специалистами, подобрать требуемые конструкции железобетонных изделий. В нашем отделе продаж можно заранее узнать и уточнить цену железобетонных труб и рассчитать общую стоимость заказа. Купить железобетонные трубы раструбные с подошвой ТСП 160.35-1 со ступенчатой стыковой поверхностью уплотняемые резиновыми кольцами и проконсультироваться по общим вопросам покупки и доставки Вы можете, позвонив по телефонам компании ГК «БЛОК»: Санкт-Петербург: (812) 309-22-09, Москва: (495) 646-38-32, Краснодар: (861) 279-36-00. Режим работы компании: Пн-Пт с 9-00 до 18-00. Компания ГК «БЛОК» осуществляет доставку железобетонных труб по всей России прямо до объекта заказчика или на строительную площадку, если позволяет инфраструктура.
Как купить
Процесс покупки железобетонных изделий у нас прост и удобен. Следуйте этим шагам:
- Выбор продукции: Ознакомьтесь с нашим ассортиментом и выберите необходимые железобетонные изделия.
- Консультация: Свяжитесь с нашим менеджером для получения консультации по выбору продукции и уточнения всех деталей. Вы можете позвонить нам или написать на электронную почту.
- Оформление заказа: После согласования всех деталей оформите заказ. Менеджер поможет вам заполнить все необходимые документы.
- Согласование доставки: После оформления заказа наш менеджер свяжется с вами для согласования условий и сроков доставки.
- Оплата: Выберите удобный способ оплаты. Мы предлагаем несколько вариантов, включая безналичный расчет.
- Получение товара: После выполнения всех условий заказа, вы получите железобетонные изделия в назначенное время и по согласованному адресу. При получении подпишите акт приема-передачи.
Если у вас возникли вопросы на любом этапе покупки, не стесняйтесь обращаться к нашим менеджерам!
Оплата
Мы принимаем только безналичные платежи и работаем исключительно с юридическими лицами. Пожалуйста, ознакомьтесь с условиями оплаты ниже:
- Способ оплаты: Все расчеты производятся безналичным путем. Мы не принимаем наличные.
- Счет на оплату: После оформления заказа вам будет выставлен счет, который необходимо оплатить в срок, указанный в документе.
- Реквизиты: Все необходимые банковские реквизиты будут предоставлены в счете. Убедитесь, что все данные указаны правильно для успешного перевода.
- Подтверждение оплаты: После осуществления платежа отправьте нам подтверждение, чтобы мы могли оперативно обработать ваш заказ.
- Получение документов: После полной оплаты вы получите все необходимые документы, включая акт выполненных работ, товарные накладные и сертификаты на продукцию.
Мы работаем с НДС и предоставляем все необходимые сертификаты и документы. Все гарантии будут прописаны в договоре, что обеспечивает прозрачность и надежность сотрудничества.
Если у вас есть вопросы по поводу процесса оплаты, не стесняйтесь обращаться к нашим менеджерам за помощью!
Наша оперативность — ваше удобство. Мы гарантируем своевременную доставку железобетонных изделий, что является ключевым фактором для успешной реализации ваших строительных проектов. Доставка осуществляется прямо к вашему объекту с учетом всех стандартов качества.
Основные условия доставки:
• Выбор тарифа: Вы можете выбрать способ расчета стоимости доставки — почасовой или по зонам.
• Согласование: Менеджер свяжется с вами для уточнения деталей после оформления заказа.
• Время на погрузку: Комплектация товара занимает от 1 до 3 дней в зависимости от объема.
• Акт приема-передачи: Продукция передается по акту приема-передачи.
Тарифы на доставку:
Цены варьируются в зависимости от расстояния и региона. Все тарифы включают НДС. При неблагоприятных погодных условиях возможны небольшие изменения в стоимости.
География доставки:
Мы работаем по всей территории РФ и имеем 12 офисов и производств, чтобы обеспечить удобные условия для доставки.
Для точного расчета стоимости доставки обращайтесь к нашим менеджерам!

